记者丨易佳颖 朱艺艺
10月11日,一个名为“娃小宗”的微博账号已完成平台认证,截至15:36,该账号粉丝数已达6000,仍在持续上涨中。
检索信息显示,该账号认证主体为宏胜饮料集团有限公司,审核通过时间为9月30日,但暂未发布任何内容。而宏胜集团是恒枫贸易有限公司的全资子公司,祝丽丹为法定代表人和总经理,宗馥莉担任董事。

而有消息人士指出,宗馥莉的再次辞职,主要是因为娃哈哈商标使用权“不合规”。最终,宗馥莉决定经营自己的品牌“娃小宗”。在今年5月,娃哈哈曝光了一款“娃小宗”无糖茶饮料,定价为4元。
与此同时,娃哈哈集团内部动荡继续。
昨日(10月10日)晚间,宗馥莉再次辞职的消息传出。宗馥莉被曝已于9月12日向娃哈哈集团有限公司辞去公司法定代表人、董事及董事长等相关职务,并已通过集团股东会和董事会的相关程序。娃哈哈集团相关人士向21世纪经济报道记者确认为“属实”。
另据媒体报道,10月10日娃哈哈集团召开董事会,除了通过宗馥莉辞职事项外,还任命许思敏为娃哈哈集团总经理,董事长职务空缺。对上述消息,截至发稿前,娃哈哈集团方面尚未回复。
10月11日,宗馥莉的叔叔宗泽后在朋友圈发文,对宗馥莉辞职一事发表自己的看法。宗泽后表示,上一次宗馥莉辞职时自己发表言论,被网友或者水军骂翻天,但事实上都是这些人害了她,使她越走越远,已经无法回头了。

2026年起使用新品牌娃小宗
首款无糖茶定价4元
实际上,早在今年5月12日,娃哈哈集团官方公众号“娃哈哈家园”(现更名“哈哈号角”)发文中,曝光了一款“娃小宗”无糖茶饮料,口味为“凝香乌龙”,定价为4元。虽然后续没有更进一步的产品动作,但不难看出宗馥莉一如既往锋利的性格。

不过,娃小宗首款产品进军无糖茶市场,有头有脸的品牌均已下场,竞争激烈。农夫山泉旗下东方树叶、可口可乐旗下淳茶舍、三得利无糖乌龙茶、统一的春拂绿茶、元气森林的燃茶、果子熟了无糖茶等等。不过,布局无糖茶也是延续了宗馥莉此前就坚持的年轻化战略革新,或许正如她在此前的采访中所表达的“我不会因为风波改变方向”。
在9月13日,杭州娃哈哈宏辉食品饮料有限公司“关于开展2026销售年度经销商沟通工作的通知”的一份内部文件流出,其中提及,“自娃哈哈集团创始人离世后,公司一直努力推进解决各项历史相关遗留问题。”为维护“娃哈哈”品牌使用的合规性,公司决定从2026年新的销售年度起,更换使用新品牌“娃小宗”。
但另一方面,这也不免让围观者揣测,作为继承人的宗馥莉,是否相比老一辈,对娃哈哈这一品牌感情有限。因此在面对娃哈哈集团的内部纷争时,选择另起炉灶,提早布局了新品牌事宜。
宗馥莉申请数十个“娃小宗”商标
对此,中国食品产业分析师朱丹蓬在接受21世纪经济报道记者采访时表示,“宗馥莉有自己的理念和情怀,不想躺在娃哈哈的成功上,她可能觉得不如自己创立一个品牌。但她低估了中国饮品行业的竞争的残酷性。”
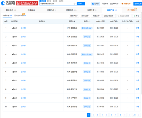
查询企业工商信息可知,“娃小宗”商标分类为啤酒饮料、方便食品、食品与医药,商标申请日期为2025年2月19日。此后,2025年2月至5月,宏胜饮料申请注册了数十个“娃小宗”商标,涵盖餐饮住宿、办公用品、服装鞋帽、教育娱乐等领域。

资料显示,宏胜集团有限公司成立于2003年,最初为娃哈哈的代工厂,这也说明宏胜集团具有实际的生产能力。那么,“娃小宗”品牌一经推出面世,其产品生产是有相应保障的。而此番风波之下,“娃小宗”可谓是响彻大众视野,这未尝不是另一种方式的品牌宣传。已有网友在评论区表示,“高低想尝尝娃小宗能做出什么产品了。”
必须指出的是,无论是无糖茶,还是后续可能推出的其他产品,“娃小宗”的覆盖范围大概率还是在饮品领域,未来是否会与娃哈哈的产品线产生直接竞争。
“一只蚂蚁跟一头大象能竞争什么?”朱丹蓬认为,从品牌横空出世,到全国500万个终端有的卖,最少要半年的时间,但半年后这波流量早已衰弱了。在他看来,现在的诸多布局也只能为了明年5月后的夏季准备,冬天不是做饮料的季节。
“但复购怎么做,更重要的是经销商为什么要进货?”朱丹蓬直言,“经销商要的是周转率和利润,加上此前宗馥莉对经销商等的态度比较强势,很难有经销商跟着她干。现在新品牌也很难招经销商,经销商生意不好做,更看重确定性,不会冒险做一个新品牌。虽然娃小宗现在流量很大,但消费者从认识这个品牌,到认知再到认可,是有个漫长的过程。”