炒股就看,权威,专业,及时,全面,助您挖掘潜力主题机会!
来源:野马财经
万万没想到,万科与万达,也走到了对簿公堂的地步。
中国地产界的两大巨头万科与万达,竟因一桩陈年合作纠纷对簿公堂。据 *** 息显示,海南万骏管理服务有限公司(万科旗下企业)已就合同纠纷正式起诉大连万达集团、万达地产及万达集团董事长王健林本人,案件定于2025年11月3日在上海市第二中级人民法院开庭审理。

图源:天眼查

从“门当户对”到“对簿公堂”
时间倒回2015年5月,万达与万科的掌门人在北京高调宣布“千亿级合作”:万达集团董事长王健林强调“万达要轻资产化,万科要提升商业能力”,万科集团执行副总裁郁亮则称这是“行业结盟的开始”。
彼时双方签署的战略协议中,“住万科好房,逛万达广场”的标语一度刷屏地产圈,被视作房企转型合作共赢的标杆案例。然而,谁能想到,昔日携手并进的商业盟友,却在五年后因一纸协议反目成仇。
2019年,万达与万科在长春国际影都项目上达成合作,该项目规划面积达1051平方公里,涵盖影视基地、文旅综合体及高端住宅等业态,被视为东北地区标杆性开发项目。万科通过旗下海南万骏管理服务有限公司分两期注资50亿元,获得项目公司15%股权,主要参与住宅开发。
然而,合作仅维持两年后,双方就产生了分歧:2021年6月,万科单方面终止协议,要求万达退还本金及利息合计13.8亿元,而万达认为已偿还52.4亿元本息,仅愿支付差额8-10亿元。
这3.8亿元的缺口,也成了双方对簿公堂的*。
2023年6月,万科向上海虹口法院申请对万达资产进行诉前保全,大连万达商管19.8亿股权被冻结。这笔股权冻结直接将万达上市发行REITs基金按下了暂停键。
更为致命的,是万达商管为上市签署的天价对赌协议:三年(截止2023年底)无法成功上市,万达须回购投资人持有的380亿股权,并支付12%的利息,对应着1287亿元的股权资产,与双方争议的标的额资产13.8亿元相比,高达94倍之多,属于超额冻结。
当时,万科这一操作可谓一剑封喉,无疑打在了万达的七寸上。
尽管双方曾通过国务院国资委法律顾问刘纪鹏斡旋,提出资产置换等方案,但始终未能达成一致,股权冻结持续至2025年。随着海南万骏正式发起诉讼,“万万合作”也进入了关键节点。

限消令仅1天便取消,
祸起武汉万达文旅?
万达最近的烦心事,属实有点多。这场合同纠纷不过是万达困局的冰山一角,眼下让71岁的王健林烦心的,还有刚发酵又迅速解除的限消令风波。
9月28日,“限消令”风波在发酵之时,万达集团内部人士向多家媒体回应:“此次是由于万达下属项目公司经济纠纷,事实上之前双方一直在通过多种方式协商解决,我们也正在了解具体情况,本次(限高)或因执行层面信息不对称导致。”
仅一天限消令便取消,看来万达的行动力还是很强的。
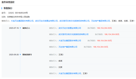
万达集团受资金之困两年多,此前王健林三次成为被执行人,这是首次被限制高消费。该限消令由甘肃省兰州市中级人民法院发放,案号为(2025)甘01执恢249号,被追债的名单中,除了万达集团和万达地产集团有限公司(简称“万达地产”),还有武汉万达文旅、武汉楚河汉街文化旅游投资有限公司。

图源:天眼查
2017年,万达集团一口气将13个文旅项目和76家酒店卖给融创中国,总共卖了600多亿元。但万达并没有放弃在文旅项目上的野心。
2021年万达拿到了武汉万达文旅项目,总投资额达500亿元,旨在打造集文化、旅游、商业等多功能于一体的大型综合体。新项目缺不了启动资金,这笔钱当然不是自己掏腰包,而是找了光大信托,其背后是光大集团、甘肃国资委、甘肃财政厅、天水市国资委。
当年6月,万达将武汉万达文旅49%的股权装到了武汉御创股权投资有限公司,后者由光大信托100%持股,同时将剩下51%的股权质押给光大信托。也就是说,万达将股权资产委托给光大信托,以此实现融资等相关授信行为,实际上是明股实债,项目的实际控制人仍是万达。

来源:罐头图库
本来双方合作得很愉快,但近年来由于万达集团经营问题,武汉万达文旅项目进展缓慢。
多次传出停工、延期交付的问题。对于资方来说,自然也不愿意吃亏,于是打起了官司。
光大信托和万达的官司不止一起。2023年7月,光大信托向法院申请诉前财产保全,请求冻结万达地产、万达集团名下2.9亿余元银行存款,或者查封扣押等同价值财产。法院审查之后认为符合法律规定,于是就冻结了万达集团账户。

被执行金额超52亿元,
3000亿负债压顶
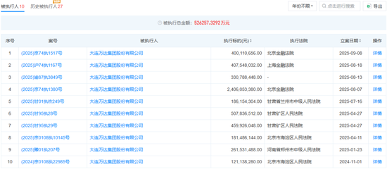
1.86亿元的执行标的,让万达及王健林陷入被限高的被动局面,折射出万达的债务和流动性压力。
根据天眼查信息,万达集团有10条被执行人信息,被执行总金额达52.63亿元,执行法院包括北京金融法院、上海金融法院、兰州市中级人民法院、郑州市中级人民法院等,单笔执行金额均在1亿元以上,更大一笔超过24亿元。立案时间集中在2025年。

图源:天眼查
大部分案件都未披露申请执行人信息,在10起执行案件中,只有1起披露了。在(2025)渝87执3849号案件中,(601988.SH)成都锦江支行向成渝金融法院申请执行,被执行人是万达集团、万达地产、成都青白江万达广场置业有限公司,执行标的金额3.31亿元;申请冻结了万达地产1亿元股权数额;申请成都青白江万达广场置业有限公司及其法定代表人甯佐夫、万达地产及其法定代表人刘诗文限制高消费。
万达地产及刘诗文此前已数次被限高。天眼查披露的信息显示,万达地产目前有129条被限高信息;失信被执行人信息5条,涉案总金额12.07亿元;被执行人信息424条,被执行总金额18.62亿元。而刘诗文2025年以来已有79条限高信息。
在申请执行人信息中还看到了上海国际信托有限公司(简称“上海信托”)的身影。根据(2024)沪74民初474号案件信息,上海信托因金融借款合同纠纷起诉万达集团、万达地产及天津静海万达房地产开发有限公司,2025年8月被执行4.08亿元。
此外,万达名下还有47条股权冻结信息,股权分布在旗下数家关联企业。9月1日,万达旗下两家金融机构分别新增一条股权冻结信息,上海万达 *** 金融服务有限公司(简称“万达 *** 金融”)、上海万达 *** 有限公司(简称“万达小贷”)股权数额分别累计冻结85.63亿元,8.4亿元。
万达商管是万达集团的核心资产,万达集团持有其40%股份。根据“小债看市”发布的信息,截至2023年三季度末,万达商管总资产6115.83元,总负债3033.6亿元,净资产为3082.24亿元,资产负债率为49.6%。
在今年6月24日《新财富》发布的2025年500创富榜中,王健林、王思聪父子以588.1亿元的身价排在第51位,相较于前一年的1408.4亿元身价缩水了一大半,排名也由第9名大幅滑落。

来源:罐头图库
万达的债务危机很大程度上源于早年签订的“对赌协议”。
2014年,大连万达商业管理集团股份有限公司(简称“万达商业”)赴港上市,但股价表现不理想,市盈率在5倍左右,而在2015年牛市背景下,不少A股房产公司市盈率高达几十倍。王健林认为万达商业价值被低估。
两年后,万达商业从香港退市并签订对赌协议,与投资者签订协议承诺,若未能在2018年8月底前在A股上市,将回购全部股权并支付10-12%的年息。这一条款最终触发,使万达面临数百亿的偿付压力。
2018年1月,万达商业引入腾讯、苏宁、京东、融创四家战略投资者,以340亿元收购其香港退市时投资人持有的14%股份。
王健林承诺在1-2年内消化房地产业务,不再进行房地产开发,成为纯粹的商业运营管理企业,由此万达商业一分为二,独立出万达地产、万达商管。根据所签协议,万达商管最晚要在2023年10月31日前完成A股上市,否则需向投资者支付高达约440亿元的本息回购款。
这一连串的对赌协议形成了巨大的刚性债务压力,迫使万达不得不大规模出售核心资产以回笼资金,最终导致公司流动性持续承压,陷入债务困境。

一年“甩卖”85个万达广场,
王健林手里还有多少筹码?
近两年王健林的日子应该并不好过,从过去的“买买买”扩张者,变成了一个“卖卖卖”救火队长。
2023年起,万达将其持有的51%股权,分多次 *** 给了中国儒意和北京万达投资股东。至此,王健林和万达集团基本失去了对这家曾经亚洲更大的电影院线的控制权。这笔交易回笼资金约60亿元。
万达集团早在2019年之前曾经计划出售旗下的金融资产,为其控股的百年人寿寻找买家,但变卖过程一波三折,至今仍未出手。不过2024年百年人寿增资之后,当地国资成为之一大股东,万达集团退居次席,意味着其在金融投资领域开始收缩。
2024年是万达资产出售的“大年”,其中最引人注目的是万达广场的批量易主,接盘方包括、阳光人寿等。
2024年除了累计 *** 26座万达广场,还出售了美国传奇影业股权,1.6亿英镑出售英国豪华游艇制造商圣汐国际。2025年4月,万达还以24.97亿元把万达酒店管理公司卖给了同程旅行。“财联社”报道称,这笔交易可为王健林带来约15亿元分红现金。
今年5月26日,多家媒体报道,5大“接盘侠”将组建合营公司收购大连万达商管旗下48座万达广场的100%股权,收购方包括太盟(珠海)管理咨询合伙企业(有限合伙)(简称“太盟珠海”)、高和丰德(北京)企业管理服务有限公司(简称“高和丰德”)、腾讯控股有限公司、北京市潘达商业管理有限公司(简称“京东潘达”)、阳光人寿保险股份有限公司(简称“阳光人寿”)。今年以来已累计出售85个万达广场。
据国家市场监管总局5月21日发布的最新信息,该笔交易已被无条件批准。除了太盟、腾讯、阳光人寿等与万达有过商业合作的“老朋友“外,其他两家公司其实也不是新人,其中京东潘达的实控人是京东集团股份有限公司,实控人刘强东;高和丰德的实控人则是高和资本的苏鑫。如48座万达广场能最终完成交易,或将帮助前首富王健林缓解现金流危机。
据“之一财经”2024年5月报道,当时有知情人士表示,万达集团旗下自持广场近300座,按之前出售的万达广场资产价值计算,每个广场的估值约为15亿元,300座广场的估值应为4500亿元左右。结合之前出售的约26座万达广场,再算上这次出售的48座万达广场,万达集团旗下自持的万达广场应该还有220座以上。
“这次参与收购48座万达广场的投资人中,太盟亚洲、高和资本等作为私募股权投资机构,也有过多次拿下标的公司控制权的案例。此次收购万达广场,可能是看中了万达广场在商业地产领域的价值和潜力,为以后通过上市退出、股权 *** 、资产证券化等方式完成投资套现做准备。”中国企业资本联盟副理事长柏文喜表示。

来源:罐头图库
卖了这么多资产,王健林手里还有几张牌可打?万达的流动性危机何时能度过?
万达广场仍是更大也是最硬的一张牌。截至2025年9月,万达集团仍有520座万达广场在运营,其中200多座为自持广场。万达广场持续的租金和物业收入将是其应对当前债务危机、维持稳定现金流的最重要保障,也是其推动“轻资产”战略转型、与投资者谈判的核心底气所在。
万达商管已四次递表失败,且未来上市路途充满迷雾。截至2025年三季度,万达商管短期债务662亿元,而账面现金仅133亿元,流动性缺口高达529亿元。不过其500亿余元年租金运营能力,仍是其强硬的底气。2023年底引入600亿注资后,王健林对珠海万达商管的持股比例由60%降至40%,失去控制权,不过股权被稀释之后,上市的对赌压力减轻。
事实上,王健林尚未“躺平”——
万达集团对外投资企业中仍有24家在存续期,包括万达商管、万达 *** 金融、万达文化、百年人寿、万达小贷等,其中持股超过50%的有15家,王健林控制的企业中有76家在存续期。
50亿旧账之外,这位老将能否在债务到期前盘活棋子,你觉得万达能在在诉讼与自救的夹缝中,找到新的出路吗?